|
|
|
Pos. |
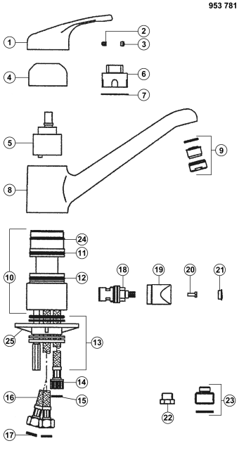
1 |
|
|
Art. Nr. |
125779 |
|
Gültig ab |
02/1998 |
|
Name
|
Hebel ARGON chrom HA, chrom
|
|
|
|
|
|
|
|
Pos. |
2 |
|
|
Art. Nr. |
119362 |
|
Gültig ab |
02/1998 |
|
Name
|
Schraube am Hebel Innensechskant 2,5 mm NF+DV
|
|
|
|
|
|
|
|
Pos. |
|
|
|
Art. Nr. |
125742 |
|
Gültig ab |
02/1998 |
|
Name
|
Schraube am Hebel M5x6 Innensechskant 2,5 mm HA (ersetzt durch 123285)
|
|
|
|
|
|
|
|
Pos. |
|
|
|
Art. Nr. |
139188 |
|
Gültig ab |
02/1998 |
|
Name
|
Innensechskantschlüssel SW 2,5 mm
|
|
|
|
|
|
|
|
Pos. |
3 |
|
|
Art. Nr. |
125743 |
|
Gültig ab |
02/1998 |
|
Name
|
Farbkappe am Hebel blau/rot HA
|
|
|
|
|
|
|
|
Pos. |
4 |
|
|
Art. Nr. |
139356 |
|
Gültig ab |
08/2003 |
|
Name
|
Abdeckring ARGON chrom Innengewinde fein HA
|
|
|
|
|
|
|
|
Pos. |
|
|
|
Art. Nr. |
125783 |
|
Gültig ab |
02/1998 |
|
Name
|
Abdeckring ARGON chrom Innengewinde grob
|
|
|
|
|
|
|
|
Pos. |
5 |
|
|
Art. Nr. |
121895 |
|
Gültig ab |
02/1998 |
|
Name
|
BLANCO Kartusche HD Ø= 40 mm HD KE, blau, Hochdruck
|
|
|
|
|
|
|
|
Pos. |
|
|
|
Art. Nr. |
118788 |
|
Gültig ab |
02/1998 |
|
Name
|
Kartusche HD Ø= 40 mm (ersetzt durch 121895 oder 121897) KI, blau, Hochdruck
|
|
|
|
|
|
|
|
Pos. |
|
|
|
Art. Nr. |
139323 |
|
Gültig ab |
02/1998 |
|
Name
|
Kartusche HD Ø= 40 mm ELIPSO/-S geänderte Ausführung grau (ersetzt durch 118788) HA, grau, Hochdruck
|
|
|
|
|
|
|
|
Pos. |
|
|
|
Art. Nr. |
125746 |
|
Gültig ab |
02/1998 |
|
Name
|
Kartusche HD Ø= 40 mm (ersetzt durch 139323), grün, Hochdruck
|
|
|
|
|
|
|
|
Pos. |
6 |
|
|
Art. Nr. |
125921 |
|
Gültig ab |
02/1998 |
|
Name
|
Schlüssel für Abdeckring ARGON komplett bis 07/2003 HA
|
|
|
|
|
|
|
|
Pos. |
7 |
|
|
Art. Nr. |
139779 |
|
Gültig ab |
08/2003 |
|
Name
|
Dichtung Kartuschenabdeckring HA
|
|
|
|
|
|
|
|
Pos. |
|
|
|
Art. Nr. |
126816 |
|
Gültig ab |
02/1998 |
|
Name
|
Dichtung ARGON flach HA
|
|
|
|
|
|
|
|
Pos. |
8 |
|
|
Art. Nr. |
125801 |
|
Gültig ab |
02/1998 |
|
Name
|
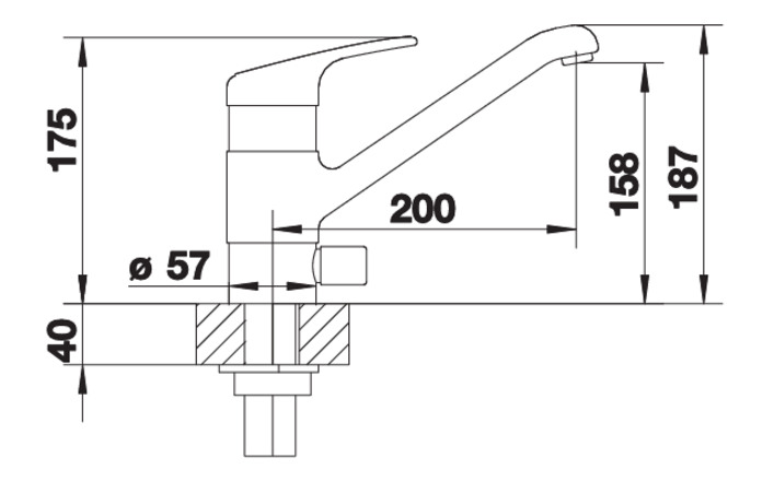
Auslauf ARGON-A chrom
|
|
|
|
|
|
|
|
Pos. |
9 |
|
|
Art. Nr. |
117344 |
|
Gültig ab |
02/1998 |
|
Name
|
Strahlregler HD AG M24x1 chrom BL (NE), Hochdruck
Ersatzteile
|
|
|
|
|
|
|
|
Pos. |
|
|
|
Art. Nr. |
127840 |
|
Gültig ab |
02/1998 |
|
Name
|
Strahlregler HD AG M24x1 chrom (ersetzt durch 117344) HA, Hochdruck
Ersatzteile
|
|
|
|
|
|
|
|
Pos. |
|
|
|
Art. Nr. |
117501 |
|
Gültig ab |
02/1998 |
|
Name
|
Dichtung für Strahlregler 15,0 x 21,45 x 2,8mm BL (NE)
|
|
|
|
|
|
|
|
Pos. |
|
|
|
Art. Nr. |
126331 |
|
Gültig ab |
02/1998 |
|
Name
|
Strahlregler HD AG SW22 (ersetzt durch 127840 oder 117500) HA, Hochdruck
|
|
|
|
|
|
|
|
Pos. |
|
|
|
Art. Nr. |
125778 |
|
Gültig ab |
02/1998 |
|
Name
|
Strahlregler HD AG SW22 (ersetzt durch 126331) HA, Hochdruck
|
|
|
|
|
|
|
|
Pos. |
|
|
|
Art. Nr. |
511324 |
|
Gültig ab |
02/1998 |
|
Name
|
Schlüssel für Strahlregler/-zerteiler (1 Stück)
|
|
|
|
|
|
|
|
Pos. |
10 |
|
|
Art. Nr. |
126326 |
|
Gültig ab |
02/1998 |
|
Name
|
Innenkörper ARGON-A chrom Innengewinde fein HA
|
|
|
|
|
|
|
|
Pos. |
11 |
|
|
Art. Nr. |
126812 |
|
Gültig ab |
02/1998 |
|
Name
|
O-Ring 3,53 x 42,86 (Ø~50 mm) HA
|
|
|
|
|
|
|
|
Pos. |
|
|
|
Art. Nr. |
117933 |
|
Gültig ab |
02/1998 |
|
Name
|
Armaturenfett 25 g Tube Berulub Sihaf 2
|
|
|
|
|
|
|
|
Pos. |
|
|
|
Art. Nr. |
117934 |
|
Gültig ab |
02/1998 |
|
Name
|
Armaturenfett 5 g Beutel Berulub Sihaf 2
|
|
|
|
|
|
|
|
Pos. |
12 |
|
|
Art. Nr. |
126843 |
|
Gültig ab |
02/1998 |
|
Name
|
V-Ring Innenkörper ARGON-Z (ersetzt durch 126812)
|
|
|
|
|
|
|
|
Pos. |
13 |
|
|
Art. Nr. |
126330 |
|
Gültig ab |
02/1998 |
|
Name
|
Montageset ARGON-A HA
|
|
|
|
|
|
|
|
Pos. |
14 |
|
|
Art. Nr. |
119786 |
|
Gültig ab |
02/1998 |
|
Name
|
Anschlussschlauch integrierter Dichtung 30 cm Metall M15x1 x M10x1 NF + SO
|
|
|
|
|
|
|
|
Pos. |
|
|
|
Art. Nr. |
127913 |
|
Gültig ab |
02/1998 |
|
Name
|
Flexschlauch für Brauseschlauch ohne Dichtung 42 cm Metall M10x1 HA (erstzt durch 119786)
|
|
|
|
|
|
|
|
Pos. |
|
|
|
Art. Nr. |
125765 |
|
Gültig ab |
02/1998 |
|
Name
|
Anschlussschlauch HD ohne Dichtung Rändelmutter 40 cm Metall (ersetzt durch 127913) HA
|
|
|
|
|
|
|
|
Pos. |
15 |
|
|
Art. Nr. |
126762 |
|
Gültig ab |
02/1998 |
|
Name
|
Dichtung Brauseschlauch unten 13,7 x 10 x 1,5 HA
|
|
|
|
|
|
|
|
Pos. |
16 |
|
|
Art. Nr. |
123949 |
|
Gültig ab |
03/2011 |
|
Name
|
Flexschlauch 70 cm blau ST B FI EU 3/8" - M10x1 NE
|
|
|
|
|
|
|
|
Pos. |
|
|
|
Art. Nr. |
123948 |
|
Gültig ab |
03/2011 |
|
Name
|
Flexschlauch 70 cm rot ST R FI EU 3/8" - M10x1 NE
|
|
|
|
|
|
|
|
Pos. |
|
|
|
Art. Nr. |
119416 |
|
Gültig ab |
03/2011 |
|
Name
|
Flexschlauch blau mit Siebdichtung 65 cm Metall M10x1 BL (NF) (ersetzt durch 123949)
|
|
|
|
|
|
|
|
Pos. |
|
|
|
Art. Nr. |
119417 |
|
Gültig ab |
03/2011 |
|
Name
|
Flexschlauch rot mit Siebdichtung 65 cm Metall M10x1 BL (NF) (ersetzt durch 123948)
|
|
|
|
|
|
|
|
Pos. |
|
|
|
Art. Nr. |
119684 |
|
Gültig ab |
03/2011 |
|
Name
|
Flexschlauch blau mit Siebdichtung 50 cm Metall M10x1 (ersetzt durch 119416) HA
|
|
|
|
|
|
|
|
Pos. |
|
|
|
Art. Nr. |
119685 |
|
Gültig ab |
03/2011 |
|
Name
|
Flexschlauch rot mit Siebdichtung 50 cm Metall M10x1 (ersetzt durch 119417) HA
|
|
|
|
|
|
|
|
Pos. |
|
|
|
Art. Nr. |
121656 |
|
Gültig ab |
02/1998 |
|
Name
|
Flexschlauch neutral mit integrierter Dichtung ohne Aufkleber 55 cm Metall 3/8" x M10x1 (NF)
|
|
|
|
|
|
|
|
Pos. |
|
|
|
Art. Nr. |
119913 |
|
Gültig ab |
02/1998 |
|
Name
|
Flexschlauch C mit integrierter Dichtung 55 cm Metall M10x1 BL (NF) (ersetzt durch 121656)
|
|
|
|
|
|
|
|
Pos. |
|
|
|
Art. Nr. |
126492 |
|
Gültig ab |
02/1998 |
|
Name
|
Flexschlauch blau integrierter Dichtung 50 cm Metall M10x1 (ersetzt durch 119913) HA
|
|
|
|
|
|
|
|
Pos. |
|
|
|
Art. Nr. |
128923 |
|
Gültig ab |
02/1998 |
|
Name
|
Flexschlauch rot mit integrierter Dichtung 50 cm Metall M10x1 (ersetzt durch 119913) HA
|
|
|
|
|
|
|
|
Pos. |
17 |
|
|
Art. Nr. |
117464 |
|
Gültig ab |
02/1998 |
|
Name
|
Fiberdichtung HA
|
|
|
|
|
|
|
|
Pos. |
|
|
|
Art. Nr. |
126478 |
|
Gültig ab |
02/1998 |
|
Name
|
Dichtung 15 x 10 x 3 (ersetzt durch 117464) HA
|
|
|
|
|
|
|
|
Pos. |
|
|
|
Art. Nr. |
125766 |
|
Gültig ab |
02/1998 |
|
Name
|
Dichtung Flexschlauch (ersetzt durch 126478) HA
|
|
|
|
|
|
|
|
Pos. |
18 |
|
|
Art. Nr. |
125797 |
|
Gültig ab |
02/1998 |
|
Name
|
Ventilkörper Geräteabsperrung ARGON-A HA
|
|
|
|
|
|
|
|
Pos. |
19 |
|
|
Art. Nr. |
125798 |
|
Gültig ab |
02/1998 |
|
Name
|
Drehgriff ARGON-A chrom komplett HA, chrom
|
|
|
|
|
|
|
|
Pos. |
20 |
|
|
Art. Nr. |
125799 |
|
Gültig ab |
02/1998 |
|
Name
|
Schraube für Drehgriff ARGON-A HA
|
|
|
|
|
|
|
|
Pos. |
21 |
|
|
Art. Nr. |
125800 |
|
Gültig ab |
02/1998 |
|
Name
|
Kappe für Drehgriff ARGON-A HA
|
|
|
|
|
|
|
|
Pos. |
22 |
|
|
Art. Nr. |
125803 |
|
Gültig ab |
02/1998 |
|
Name
|
Verschlussstopfen ARGON-A, ELIPSO-A HA
|
|
|
|
|
|
|
|
Pos. |
23 |
|
|
Art. Nr. |
125804 |
|
Gültig ab |
02/1998 |
|
Name
|
Anschlussnippel M15x1 x 0,75" ARGON, ELIPSO HA
|
|
|
|
|
|
|
|
Pos. |
|
|
|
Art. Nr. |
126849 |
|
Gültig ab |
02/1998 |
|
Name
|
Dichtung Anschlussnippel HA
|
|
|
|
|
|
|
|
Pos. |
24 |
|
|
Art. Nr. |
126319 |
|
Gültig ab |
02/1998 |
|
Name
|
O-Ring ARGON,ELIPSO,LAVA,MIRA 2,62 x 29,83
|
|
|
|
|
|
|
|
Pos. |
25 |
|
|
Art. Nr. |
126945 |
|
Gültig ab |
02/1998 |
|
Name
|
Stabilisationsdreieck für Küchenarmaturen Kunststoff BLANCO
|
|
|
|
|
|
|
|
Pos. |
|
|
|
Art. Nr. |
513383 |
|
Gültig ab |
02/1998 |
|
Name
|
Zusätzliche Armaturenstabilisierung 60 mm
|
|
|
|
|
|
|
|
Pos. |
|
|
|
Art. Nr. |
513384 |
|
Gültig ab |
02/1998 |
|
Name
|
Zusätzliche Armaturenstabilisierung 75 mm
|
|
|
|
|
|
|
|
Pos. |
|
|
|
Art. Nr. |
120055 |
|
Gültig ab |
02/1998 |
|
Name
|
Flexibles Dichtungsband (3 x 150 mm)
|
|
|
|
|