|
|
|
Pos. |
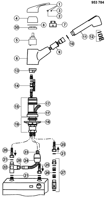
1 |
|
|
Art. Nr. |
125779 |
|
Gültig ab |
02/1998 |
|
Name
|
Hebel ARGON chrom HA, chrom
|
|
|
|
|
|
|
|
Pos. |
2 |
|
|
Art. Nr. |
119362 |
|
Gültig ab |
02/1998 |
|
Name
|
Schraube am Hebel Innensechskant 2,5 mm NF+DV
|
|
|
|
|
|
|
|
Pos. |
|
|
|
Art. Nr. |
123285 |
|
Gültig ab |
02/1998 |
|
Name
|
Schraube am Hebel Innensechskant 2,5mm VE (ersetzt durch 119362)
|
|
|
|
|
|
|
|
Pos. |
|
|
|
Art. Nr. |
125742 |
|
Gültig ab |
02/1998 |
|
Name
|
Schraube am Hebel M5x6 Innensechskant 2,5 mm HA (ersetzt durch 123285)
|
|
|
|
|
|
|
|
Pos. |
|
|
|
Art. Nr. |
139188 |
|
Gültig ab |
02/1998 |
|
Name
|
Innensechskantschlüssel SW 2,5 mm
|
|
|
|
|
|
|
|
Pos. |
3 |
|
|
Art. Nr. |
125743 |
|
Gültig ab |
02/1998 |
|
Name
|
Farbkappe am Hebel blau/rot HA
|
|
|
|
|
|
|
|
Pos. |
4 |
|
|
Art. Nr. |
139356 |
|
Gültig ab |
09/2003 |
|
Name
|
Abdeckring ARGON chrom Innengewinde fein HA
|
|
|
|
|
|
|
|
Pos. |
|
|
|
Art. Nr. |
117482 |
|
Gültig ab |
02/1998 |
|
Name
|
Abdeckring chrom Innengewinde fein ohne Mutter
|
|
|
|
|
|
|
|
Pos. |
|
|
|
Art. Nr. |
125783 |
|
Gültig ab |
02/1998 |
|
Name
|
Abdeckring ARGON chrom Innengewinde grob
|
|
|
|
|
|
|
|
Pos. |
5 |
|
|
Art. Nr. |
121492 |
|
Gültig ab |
02/1998 |
|
Name
|
Kartusche ND Ø= 40 mm KE, blau, Niederdruck
|
|
|
|
|
|
|
|
Pos. |
|
|
|
Art. Nr. |
120089 |
|
Gültig ab |
02/1998 |
|
Name
|
Kartusche ND Ø= 40 mm (ersetzt durch 121492) KI, blau, Niederdruck
|
|
|
|
|
|
|
|
Pos. |
|
|
|
Art. Nr. |
116646 |
|
Gültig ab |
02/1998 |
|
Name
|
Kartusche ND Ø= 40 mm (ersetzt durch 120089) MZ, grau, Niederdruck
|
|
|
|
|
|
|
|
Pos. |
|
|
|
Art. Nr. |
116611 |
|
Gültig ab |
02/1998 |
|
Name
|
Kartusche ND Ø= 40 mm ab 05/2007 (ersetzt durch 116646) HA, grau, Niederdruck
|
|
|
|
|
|
|
|
Pos. |
|
|
|
Art. Nr. |
125818 |
|
Gültig ab |
02/1998 |
|
Name
|
Kartusche ND Ø= 40 mm (ersetzt durch 116611), blau, Niederdruck
|
|
|
|
|
|
|
|
Pos. |
|
|
|
Art. Nr. |
117933 |
|
Gültig ab |
02/1998 |
|
Name
|
Armaturenfett 25 g Tube Berulub Sihaf 2
|
|
|
|
|
|
|
|
Pos. |
|
|
|
Art. Nr. |
117934 |
|
Gültig ab |
02/1998 |
|
Name
|
Armaturenfett 5 g Beutel Berulub Sihaf 2
|
|
|
|
|
|
|
|
Pos. |
6 |
|
|
Art. Nr. |
125805 |
|
Gültig ab |
02/1998 |
|
Name
|
Außenkörper ARGON-S chrom HA
|
|
|
|
|
|
|
|
Pos. |
7 |
|
|
Art. Nr. |
125921 |
|
Gültig ab |
02/1998 |
|
Name
|
Schlüssel für Abdeckring ARGON komplett bis 07/2003 HA
|
|
|
|
|
|
|
|
Pos. |
8 |
|
|
Art. Nr. |
139779 |
|
Gültig ab |
08/2003 |
|
Name
|
Dichtung Kartuschenabdeckring HA
|
|
|
|
|
|
|
|
Pos. |
|
|
|
Art. Nr. |
139359 |
|
Gültig ab |
08/2003 |
|
Name
|
Dichtung Abdeckring ARGON (ersetzt durch 139779)
|
|
|
|
|
|
|
|
Pos. |
|
|
|
Art. Nr. |
126816 |
|
Gültig ab |
02/1998 |
|
Name
|
Dichtung ARGON flach HA
|
|
|
|
|
|
|
|
Pos. |
9 |
|
|
Art. Nr. |
125928 |
|
Gültig ab |
02/1998 |
|
Name
|
Passstück Brausekopf ARGON, MIRA schwarz
|
|
|
|
|
|
|
|
Pos. |
10 |
|
|
Art. Nr. |
126764 |
|
Gültig ab |
02/1998 |
|
Name
|
Dichtung Brauseschlauch oben 20x12x2,5 HA
|
|
|
|
|
|
|
|
Pos. |
|
|
|
Art. Nr. |
125777 |
|
Gültig ab |
02/1998 |
|
Name
|
Dichtung 19x10x2 (ersetzt durch 126764) HA
|
|
|
|
|
|
|
|
Pos. |
11 |
|
|
Art. Nr. |
125820 |
|
Gültig ab |
02/1998 |
|
Name
|
Brausekopf ARGON-S ND chrom komplett HA galvanisch, chrom, Niederdruck
|
|
|
|
|
|
|
|
Pos. |
12 |
|
|
Art. Nr. |
127397 |
|
Gültig ab |
02/1998 |
|
Name
|
Strahlzerteiler ND AG M24x1 chrom BL (AM), Niederdruck
Ersatzteile
|
|
|
|
|
|
|
|
Pos. |
|
|
|
Art. Nr. |
125829 |
|
Gültig ab |
02/1998 |
|
Name
|
Strahlzerteiler ND AG M24x1 SW22 chrom (ersetzt durch 127397) HA, Niederdruck
Ersatzteile
|
|
|
|
|
|
|
|
Pos. |
|
|
|
Art. Nr. |
117501 |
|
Gültig ab |
02/1998 |
|
Name
|
Dichtung für Strahlregler 15,0 x 21,45 x 2,8mm BL (NE)
|
|
|
|
|
|
|
|
Pos. |
|
|
|
Art. Nr. |
511324 |
|
Gültig ab |
02/1998 |
|
Name
|
Schlüssel für Strahlregler/-zerteiler (1 Stück)
|
|
|
|
|
|
|
|
Pos. |
13 |
|
|
Art. Nr. |
126818 |
|
Gültig ab |
02/1998 |
|
Name
|
Kartuschensitz ND Kunststoff HA
|
|
|
|
|
|
|
|
Pos. |
14 |
|
|
Art. Nr. |
125825 |
|
Gültig ab |
02/1998 |
|
Name
|
Durchflussbegrenzer ARGON-S ND HA, gelb
|
|
|
|
|
|
|
|
Pos. |
15 |
|
|
Art. Nr. |
139360 |
|
Gültig ab |
02/1998 |
|
Name
|
Innenkörper ARGON-S chrom Innengewinde fein
|
|
|
|
|
|
|
|
Pos. |
|
|
|
Art. Nr. |
125809 |
|
Gültig ab |
02/1998 |
|
Name
|
Innenkörper ARGON-S chrom Außengewinde grob
|
|
|
|
|
|
|
|
Pos. |
17 |
|
|
Art. Nr. |
139347 |
|
Gültig ab |
08/2003 |
|
Name
|
O-Ring Innenkörper ARGON-S HA
|
|
|
|
|
|
|
|
Pos. |
|
|
|
Art. Nr. |
126812 |
|
Gültig ab |
02/1998 |
|
Name
|
O-Ring 3,53 x 42,86 (Ø~50 mm) HA
|
|
|
|
|
|
|
|
Pos. |
18 |
|
|
Art. Nr. |
126945 |
|
Gültig ab |
02/1998 |
|
Name
|
Stabilisationsdreieck für Küchenarmaturen Kunststoff BLANCO
|
|
|
|
|
|
|
|
Pos. |
19 |
|
|
Art. Nr. |
123182 |
|
Gültig ab |
01/2019 |
|
Name
|
Montageset FELISA /-S MZ
|
|
|
|
|
|
|
|
Pos. |
|
|
|
Art. Nr. |
125761 |
|
Gültig ab |
02/1998 |
|
Name
|
Montageset ARGON, ELIPSO, FELISA, MIRA, LAVA HA (ersetzt durch 123182)
|
|
|
|
|
|
|
|
Pos. |
20 |
|
|
Art. Nr. |
121656 |
|
Gültig ab |
02/1998 |
|
Name
|
Flexschlauch neutral mit integrierter Dichtung ohne Aufkleber 55 cm Metall 3/8" x M10x1 (NF)
|
|
|
|
|
|
|
|
Pos. |
|
|
|
Art. Nr. |
119913 |
|
Gültig ab |
02/1998 |
|
Name
|
Flexschlauch C mit integrierter Dichtung 55 cm Metall M10x1 BL (NF) (ersetzt durch 121656)
|
|
|
|
|
|
|
|
Pos. |
21 |
|
|
Art. Nr. |
117464 |
|
Gültig ab |
02/1998 |
|
Name
|
Fiberdichtung HA
|
|
|
|
|
|
|
|
Pos. |
20 |
|
|
Art. Nr. |
128923 |
|
Gültig ab |
02/1998 |
|
Name
|
Flexschlauch rot mit integrierter Dichtung 50 cm Metall M10x1 (ersetzt durch 119913) HA
|
|
|
|
|
|
|
|
Pos. |
21 |
|
|
Art. Nr. |
126478 |
|
Gültig ab |
01/1999 |
|
Name
|
Dichtung 15 x 10 x 3 (ersetzt durch 117464) HA
|
|
|
|
|
|
|
|
Pos. |
|
|
|
Art. Nr. |
125766 |
|
Gültig ab |
02/1998 |
|
Name
|
Dichtung Flexschlauch (ersetzt durch 126478) HA
|
|
|
|
|
|
|
|
Pos. |
22 |
|
|
Art. Nr. |
127281 |
|
Gültig ab |
02/1998 |
|
Name
|
T-Stück mit Dichtungen IG 3/8", IG M15x1 und AG 3/8" BL
|
|
|
|
|
|
|
|
Pos. |
|
|
|
Art. Nr. |
125827 |
|
Gültig ab |
02/1998 |
|
Name
|
T-Stück ND ARGON, ELIPSO, MERKUR (ersetzt durch 127281) HA
|
|
|
|
|
|
|
|
Pos. |
23 |
|
|
Art. Nr. |
125763 |
|
Gültig ab |
02/1998 |
|
Name
|
Brauseschlauch komplett mit Dichtungen und O-Ring 150 cm Metall
|
|
|
|
|
|
|
|
Pos. |
24 |
|
|
Art. Nr. |
124881 |
|
Gültig ab |
02/1998 |
|
Name
|
Gewicht für Brauseschlauch (445g) PN
|
|
|
|
|
|
|
|
Pos. |
|
|
|
Art. Nr. |
123888 |
|
Gültig ab |
02/1998 |
|
Name
|
Gewicht für Brauseschlauch (420g) AV (ersetzt durch 124881)
|
|
|
|
|
|
|
|
Pos. |
|
|
|
Art. Nr. |
128707 |
|
Gültig ab |
02/1998 |
|
Name
|
Gewicht Ø 14 mm (221g) BL (NF) (ersetzt durch 123888)
|
|
|
|
|
|
|
|
Pos. |
|
|
|
Art. Nr. |
125764 |
|
Gültig ab |
02/1998 |
|
Name
|
Gewicht (260g) (ersetzt durch 128707 oder 123063) BL (HA)
|
|
|
|
|
|
|
|
Pos. |
25 |
|
|
Art. Nr. |
126492 |
|
Gültig ab |
02/1998 |
|
Name
|
Flexschlauch blau integrierter Dichtung 50 cm Metall M10x1 (ersetzt durch 119913) HA
|
|
|
|
|
|
|
|
Pos. |
|
|
|
Art. Nr. |
125831 |
|
Gültig ab |
02/1998 |
|
Name
|
Flexschlauch ohne Dichtung 50 cm Metall (ersetzt durch 119684) HA
|
|
|
|
|
|
|
|
Pos. |
26 |
|
|
Art. Nr. |
125830 |
|
Gültig ab |
02/1998 |
|
Name
|
Dichtung Rückflussverhinderer 15x12x2 HA
|
|
|
|
|
|
|
|
Pos. |
27 |
|
|
Art. Nr. |
125822 |
|
Gültig ab |
02/1998 |
|
Name
|
Rückflussverhinderer ND ARGON, ELIPSO, MERKUR
|
|
|
|
|
|
|
|
Pos. |
28 |
|
|
Art. Nr. |
126762 |
|
Gültig ab |
02/1998 |
|
Name
|
Dichtung Brauseschlauch unten 13,7 x 10 x 1,5 HA
|
|
|
|
|
|
|
|
Pos. |
30 |
|
|
Art. Nr. |
139355 |
|
Gültig ab |
09/2003 |
|
Name
|
Kartuschensicherungsmutter ARGON HA
|
|
|
|
|
|
|
|
Pos. |
|
|
|
Art. Nr. |
127433 |
|
Gültig ab |
02/1998 |
|
Name
|
Kartuschenschlüssel Sechskant Schlüsselweite = 30 mm und 36 mm
|
|
|
|
|
|
|
|
Pos. |
|
|
|
Art. Nr. |
513383 |
|
Gültig ab |
02/1998 |
|
Name
|
Zusätzliche Armaturenstabilisierung 60 mm
|
|
|
|
|
|
|
|
Pos. |
|
|
|
Art. Nr. |
513384 |
|
Gültig ab |
02/1998 |
|
Name
|
Zusätzliche Armaturenstabilisierung 75 mm
|
|
|
|
|
|
|
|
Pos. |
|
|
|
Art. Nr. |
511920 |
|
Gültig ab |
02/1998 |
|
Name
|
Schlauchführung für Küchenarmaturen
|
|
|
|
|
|
|
|
Pos. |
|
|
|
Art. Nr. |
120055 |
|
Gültig ab |
02/1998 |
|
Name
|
Flexibles Dichtungsband (3 x 150 mm)
|
|
|
|
|