|
|
|
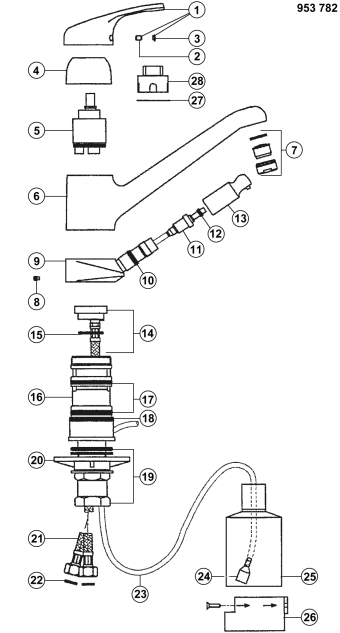
Pos. |
1 |
|
|
Art. Nr. |
125782 |
|
Gültig ab |
02/1999 |
|
Name
|
Hebel ARGON braun HA, braun
|
|
|
|
|
|
|
|
Pos. |
2 |
|
|
Art. Nr. |
119362 |
|
Gültig ab |
02/1999 |
|
Name
|
Schraube am Hebel Innensechskant 2,5 mm NF+DV
|
|
|
|
|
|
|
|
Pos. |
|
|
|
Art. Nr. |
123285 |
|
Gültig ab |
02/1999 |
|
Name
|
Schraube am Hebel Innensechskant 2,5mm VE (ersetzt durch 119362)
|
|
|
|
|
|
|
|
Pos. |
|
|
|
Art. Nr. |
125742 |
|
Gültig ab |
02/1999 |
|
Name
|
Schraube am Hebel M5x6 Innensechskant 2,5 mm HA (ersetzt durch 123285)
|
|
|
|
|
|
|
|
Pos. |
|
|
|
Art. Nr. |
139188 |
|
Gültig ab |
02/1999 |
|
Name
|
Innensechskantschlüssel SW 2,5 mm
|
|
|
|
|
|
|
|
Pos. |
3 |
|
|
Art. Nr. |
125743 |
|
Gültig ab |
02/1999 |
|
Name
|
Farbkappe am Hebel blau/rot HA
|
|
|
|
|
|
|
|
Pos. |
4 |
|
|
Art. Nr. |
117481 |
|
Gültig ab |
02/1999 |
|
Name
|
Abdeckring braun Innengewinde fein ohne Mutter
|
|
|
|
|
|
|
|
Pos. |
|
|
|
Art. Nr. |
125786 |
|
Gültig ab |
02/1999 |
|
Name
|
Abdeckring ARGON braun Innengewinde grob
|
|
|
|
|
|
|
|
Pos. |
5 |
|
|
Art. Nr. |
123815 |
|
Gültig ab |
02/1999 |
|
Name
|
Kartusche 40 mm HD offen KE, blau, Hochdruck
|
|
|
|
|
|
|
|
Pos. |
|
|
|
Art. Nr. |
122064 |
|
Gültig ab |
02/1999 |
|
Name
|
BLANCO Kartusche HD Ø= 40 mm HD CT offen (ersetzt durch 123815), blau, Hochdruck
|
|
|
|
|
|
|
|
Pos. |
|
|
|
Art. Nr. |
120875 |
|
Gültig ab |
02/1999 |
|
Name
|
Kartusche HD Ø= 40 mm geänderte Ausführung blau KI (ersetzt durch 122064), blau, Hochdruck
|
|
|
|
|
|
|
|
Pos. |
|
|
|
Art. Nr. |
139322 |
|
Gültig ab |
02/1999 |
|
Name
|
Kartusche HD Ø= 40 mm ELIPSO geänderte Ausführung grau (ersetzt durch 120875), grau, Hochdruck
|
|
|
|
|
|
|
|
Pos. |
|
|
|
Art. Nr. |
126827 |
|
Gültig ab |
02/1999 |
|
Name
|
Kartusche HD Ø= 40 mm ARGON-Z (ersetzt durch 139322), grün, Hochdruck
|
|
|
|
|
|
|
|
Pos. |
6 |
|
|
Art. Nr. |
126831 |
|
Gültig ab |
02/1999 |
|
Name
|
Auslauf ARGON-Z braun
|
|
|
|
|
|
|
|
Pos. |
7 |
|
|
Art. Nr. |
117344 |
|
Gültig ab |
02/1999 |
|
Name
|
Strahlregler HD AG M24x1 chrom BL (NE), Hochdruck
Ersatzteile
|
|
|
|
|
|
|
|
Pos. |
|
|
|
Art. Nr. |
127840 |
|
Gültig ab |
02/1999 |
|
Name
|
Strahlregler HD AG M24x1 chrom (ersetzt durch 117344) HA, Hochdruck
Ersatzteile
|
|
|
|
|
|
|
|
Pos. |
|
|
|
Art. Nr. |
117501 |
|
Gültig ab |
02/1999 |
|
Name
|
Dichtung für Strahlregler 15,0 x 21,45 x 2,8mm BL (NE)
|
|
|
|
|
|
|
|
Pos. |
|
|
|
Art. Nr. |
126331 |
|
Gültig ab |
02/1999 |
|
Name
|
Strahlregler HD AG SW22 (ersetzt durch 127840 oder 117500) HA, Hochdruck
|
|
|
|
|
|
|
|
Pos. |
|
|
|
Art. Nr. |
125778 |
|
Gültig ab |
02/1999 |
|
Name
|
Strahlregler HD AG SW22 (ersetzt durch 126331) HA, Hochdruck
|
|
|
|
|
|
|
|
Pos. |
|
|
|
Art. Nr. |
511324 |
|
Gültig ab |
02/1999 |
|
Name
|
Schlüssel für Strahlregler/-zerteiler (1 Stück)
|
|
|
|
|
|
|
|
Pos. |
8 |
|
|
Art. Nr. |
126834 |
|
Gültig ab |
02/1999 |
|
Name
|
Schraube ARGON-Z, ELIPSO-Z, RADOS-S HA
|
|
|
|
|
|
|
|
Pos. |
9 |
|
|
Art. Nr. |
126832 |
|
Gültig ab |
02/1999 |
|
Name
|
Auslauf Spender ARGON-Z komplett HA
|
|
|
|
|
|
|
|
Pos. |
10 |
|
|
Art. Nr. |
126833 |
|
Gültig ab |
02/1999 |
|
Name
|
O-Ring Spender ARGON-Z HA
|
|
|
|
|
|
|
|
Pos. |
11 |
|
|
Art. Nr. |
126835 |
|
Gültig ab |
02/1999 |
|
Name
|
Pumpe ARGON-Z, ELIPSO-Z komplett HA
|
|
|
|
|
|
|
|
Pos. |
12 |
|
|
Art. Nr. |
126836 |
|
Gültig ab |
02/1999 |
|
Name
|
O-Ring Pumpe ARGON-Z HA
|
|
|
|
|
|
|
|
Pos. |
13 |
|
|
Art. Nr. |
126841 |
|
Gültig ab |
02/1999 |
|
Name
|
Auslauf Spender ARGON-Z HA
|
|
|
|
|
|
|
|
Pos. |
14 |
|
|
Art. Nr. |
126814 |
|
Gültig ab |
02/1999 |
|
Name
|
Kartuschensitz HD ARGON, ELIPSO, MIRA (Metall)
|
|
|
|
|
|
|
|
Pos. |
15 |
|
|
Art. Nr. |
126319 |
|
Gültig ab |
02/1999 |
|
Name
|
O-Ring ARGON,ELIPSO,LAVA,MIRA 2,62 x 29,83
|
|
|
|
|
|
|
|
Pos. |
16 |
|
|
Art. Nr. |
126842 |
|
Gültig ab |
02/1999 |
|
Name
|
Innenkörper ARGON-Z Außengewinde fein HA
|
|
|
|
|
|
|
|
Pos. |
17 |
|
|
Art. Nr. |
126812 |
|
Gültig ab |
02/1999 |
|
Name
|
O-Ring 3,53 x 42,86 (Ø~50 mm) HA
|
|
|
|
|
|
|
|
Pos. |
|
|
|
Art. Nr. |
126843 |
|
Gültig ab |
02/1999 |
|
Name
|
V-Ring Innenkörper ARGON-Z (ersetzt durch 126812)
|
|
|
|
|
|
|
|
Pos. |
|
|
|
Art. Nr. |
126318 |
|
Gültig ab |
02/1999 |
|
Name
|
O-Ring LAVA, ELIPSO-S 3,53x42,86 (ersetzt durch 126812) HA
|
|
|
|
|
|
|
|
Pos. |
|
|
|
Art. Nr. |
117933 |
|
Gültig ab |
02/1999 |
|
Name
|
Armaturenfett 25 g Tube Berulub Sihaf 2
|
|
|
|
|
|
|
|
Pos. |
|
|
|
Art. Nr. |
117934 |
|
Gültig ab |
02/1999 |
|
Name
|
Armaturenfett 5 g Beutel Berulub Sihaf 2
|
|
|
|
|
|
|
|
Pos. |
18 |
|
|
Art. Nr. |
126844 |
|
Gültig ab |
02/1999 |
|
Name
|
O-Ring Innenkörper ARGON-/ELIPSO-Z HA
|
|
|
|
|
|
|
|
Pos. |
19 |
|
|
Art. Nr. |
123182 |
|
Gültig ab |
01/2019 |
|
Name
|
Montageset FELISA /-S MZ
|
|
|
|
|
|
|
|
Pos. |
|
|
|
Art. Nr. |
125761 |
|
Gültig ab |
02/1999 |
|
Name
|
Montageset ARGON, ELIPSO, FELISA, MIRA, LAVA HA (ersetzt durch 123182)
|
|
|
|
|
|
|
|
Pos. |
20 |
|
|
Art. Nr. |
126945 |
|
Gültig ab |
02/1999 |
|
Name
|
Stabilisationsdreieck für Küchenarmaturen Kunststoff BLANCO
|
|
|
|
|
|
|
|
Pos. |
21 |
|
|
Art. Nr. |
123949 |
|
Gültig ab |
03/2011 |
|
Name
|
Flexschlauch 70 cm blau ST B FI EU 3/8" - M10x1 NE
|
|
|
|
|
|
|
|
Pos. |
|
|
|
Art. Nr. |
123948 |
|
Gültig ab |
03/2011 |
|
Name
|
Flexschlauch 70 cm rot ST R FI EU 3/8" - M10x1 NE
|
|
|
|
|
|
|
|
Pos. |
|
|
|
Art. Nr. |
119416 |
|
Gültig ab |
03/2011 |
|
Name
|
Flexschlauch blau mit Siebdichtung 65 cm Metall M10x1 BL (NF) (ersetzt durch 123949)
|
|
|
|
|
|
|
|
Pos. |
|
|
|
Art. Nr. |
119417 |
|
Gültig ab |
03/2011 |
|
Name
|
Flexschlauch rot mit Siebdichtung 65 cm Metall M10x1 BL (NF) (ersetzt durch 123948)
|
|
|
|
|
|
|
|
Pos. |
|
|
|
Art. Nr. |
119684 |
|
Gültig ab |
03/2011 |
|
Name
|
Flexschlauch blau mit Siebdichtung 50 cm Metall M10x1 (ersetzt durch 119416) HA
|
|
|
|
|
|
|
|
Pos. |
|
|
|
Art. Nr. |
119685 |
|
Gültig ab |
03/2011 |
|
Name
|
Flexschlauch rot mit Siebdichtung 50 cm Metall M10x1 (ersetzt durch 119417) HA
|
|
|
|
|
|
|
|
Pos. |
|
|
|
Art. Nr. |
121656 |
|
Gültig ab |
02/1999 |
|
Name
|
Flexschlauch neutral mit integrierter Dichtung ohne Aufkleber 55 cm Metall 3/8" x M10x1 (NF)
|
|
|
|
|
|
|
|
Pos. |
|
|
|
Art. Nr. |
119913 |
|
Gültig ab |
02/1999 |
|
Name
|
Flexschlauch C mit integrierter Dichtung 55 cm Metall M10x1 BL (NF) (ersetzt durch 121656)
|
|
|
|
|
|
|
|
Pos. |
|
|
|
Art. Nr. |
126492 |
|
Gültig ab |
02/1999 |
|
Name
|
Flexschlauch blau integrierter Dichtung 50 cm Metall M10x1 (ersetzt durch 119913) HA
|
|
|
|
|
|
|
|
Pos. |
|
|
|
Art. Nr. |
128923 |
|
Gültig ab |
02/1999 |
|
Name
|
Flexschlauch rot mit integrierter Dichtung 50 cm Metall M10x1 (ersetzt durch 119913) HA
|
|
|
|
|
|
|
|
Pos. |
22 |
|
|
Art. Nr. |
117464 |
|
Gültig ab |
02/1999 |
|
Name
|
Fiberdichtung HA
|
|
|
|
|
|
|
|
Pos. |
|
|
|
Art. Nr. |
126478 |
|
Gültig ab |
02/1999 |
|
Name
|
Dichtung 15 x 10 x 3 (ersetzt durch 117464) HA
|
|
|
|
|
|
|
|
Pos. |
23 |
|
|
Art. Nr. |
126837 |
|
Gültig ab |
02/1999 |
|
Name
|
Schlauch ARGON-Z, ELIPSO-Z 130 cm Kunststoff HA
|
|
|
|
|
|
|
|
Pos. |
24 |
|
|
Art. Nr. |
126840 |
|
Gültig ab |
02/1999 |
|
Name
|
Rückflussverhinderer Pumpe ARGON-Z, ELIPSO-Z HA, weiß
|
|
|
|
|
|
|
|
Pos. |
25 |
|
|
Art. Nr. |
126838 |
|
Gültig ab |
02/1999 |
|
Name
|
Plasktikflasche 500 ml ARGON-Z, ELIPSO-Z HA, trans. weiß
|
|
|
|
|
|
|
|
Pos. |
26 |
|
|
Art. Nr. |
126839 |
|
Gültig ab |
02/1999 |
|
Name
|
Halter Behälter ARGON-Z, ELIPSO-Z HA
|
|
|
|
|
|
|
|
Pos. |
27 |
|
|
Art. Nr. |
126816 |
|
Gültig ab |
02/1999 |
|
Name
|
Dichtung ARGON flach HA
|
|
|
|
|
|
|
|
Pos. |
28 |
|
|
Art. Nr. |
125921 |
|
Gültig ab |
02/1999 |
|
Name
|
Schlüssel für Abdeckring ARGON komplett bis 07/2003 HA
|
|
|
|
|
|
|
|
Pos. |
|
|
|
Art. Nr. |
513383 |
|
Gültig ab |
02/1999 |
|
Name
|
Zusätzliche Armaturenstabilisierung 60 mm
|
|
|
|
|
|
|
|
Pos. |
|
|
|
Art. Nr. |
513384 |
|
Gültig ab |
02/1999 |
|
Name
|
Zusätzliche Armaturenstabilisierung 75 mm
|
|
|
|
|
|
|
|
Pos. |
|
|
|
Art. Nr. |
120055 |
|
Gültig ab |
02/1999 |
|
Name
|
Flexibles Dichtungsband (3 x 150 mm)
|
|
|
|
|