|
|
|
Pos. |
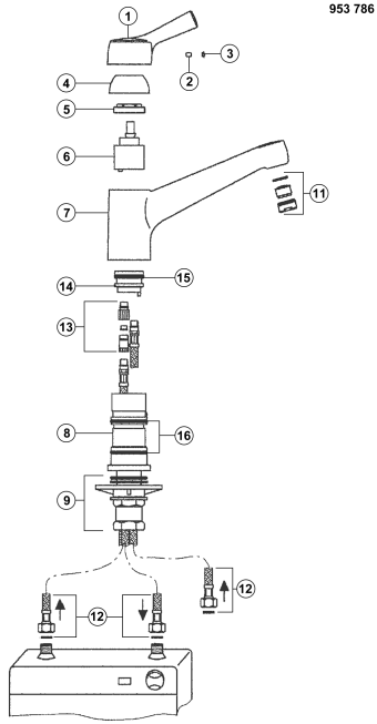
1 |
|
|
Art. Nr. |
126879 |
|
Gültig ab |
02/1999 |
|
Name
|
Hebel ELIPSO schwarz, schwarz
|
|
|
|
|
|
|
|
Pos. |
2 |
|
|
Art. Nr. |
119362 |
|
Gültig ab |
02/1999 |
|
Name
|
Schraube am Hebel Innensechskant 2,5 mm NF+DV
|
|
|
|
|
|
|
|
Pos. |
|
|
|
Art. Nr. |
123285 |
|
Gültig ab |
02/1999 |
|
Name
|
Schraube am Hebel Innensechskant 2,5mm VE (ersetzt durch 119362)
|
|
|
|
|
|
|
|
Pos. |
|
|
|
Art. Nr. |
125742 |
|
Gültig ab |
02/1999 |
|
Name
|
Schraube am Hebel M5x6 Innensechskant 2,5 mm HA (ersetzt durch 123285)
|
|
|
|
|
|
|
|
Pos. |
|
|
|
Art. Nr. |
139188 |
|
Gültig ab |
02/1999 |
|
Name
|
Innensechskantschlüssel SW 2,5 mm
|
|
|
|
|
|
|
|
Pos. |
3 |
|
|
Art. Nr. |
125743 |
|
Gültig ab |
02/1999 |
|
Name
|
Farbkappe am Hebel blau/rot HA
|
|
|
|
|
|
|
|
Pos. |
4 |
|
|
Art. Nr. |
126885 |
|
Gültig ab |
02/1999 |
|
Name
|
Abdeckring ELIPSO schwarz HA
|
|
|
|
|
|
|
|
Pos. |
5 |
|
|
Art. Nr. |
125745 |
|
Gültig ab |
02/1999 |
|
Name
|
Kartuschensicherungsmutter ELIPSO, MERKUR HA
|
|
|
|
|
|
|
|
Pos. |
|
|
|
Art. Nr. |
127433 |
|
Gültig ab |
02/1999 |
|
Name
|
Kartuschenschlüssel Sechskant Schlüsselweite = 30 mm und 36 mm
|
|
|
|
|
|
|
|
Pos. |
6 |
|
|
Art. Nr. |
121492 |
|
Gültig ab |
02/1999 |
|
Name
|
Kartusche ND Ø= 40 mm KE, blau, Niederdruck
|
|
|
|
|
|
|
|
Pos. |
|
|
|
Art. Nr. |
120089 |
|
Gültig ab |
02/1999 |
|
Name
|
Kartusche ND Ø= 40 mm (ersetzt durch 121492) KI, blau, Niederdruck
|
|
|
|
|
|
|
|
Pos. |
|
|
|
Art. Nr. |
116646 |
|
Gültig ab |
02/1999 |
|
Name
|
Kartusche ND Ø= 40 mm (ersetzt durch 120089) MZ, grau, Niederdruck
|
|
|
|
|
|
|
|
Pos. |
|
|
|
Art. Nr. |
116611 |
|
Gültig ab |
02/1999 |
|
Name
|
Kartusche ND Ø= 40 mm ab 05/2007 (ersetzt durch 116646) HA, grau, Niederdruck
|
|
|
|
|
|
|
|
Pos. |
|
|
|
Art. Nr. |
125818 |
|
Gültig ab |
02/1999 |
|
Name
|
Kartusche ND Ø= 40 mm (ersetzt durch 116611), blau, Niederdruck
|
|
|
|
|
|
|
|
Pos. |
7 |
|
|
Art. Nr. |
127162 |
|
Gültig ab |
02/1999 |
|
Name
|
Auslauf ELIPSO schwarz HA
|
|
|
|
|
|
|
|
Pos. |
8 |
|
|
Art. Nr. |
126891 |
|
Gültig ab |
02/1999 |
|
Name
|
Innenkörper ELIPSO + Sockel chrom
|
|
|
|
|
|
|
|
Pos. |
9 |
|
|
Art. Nr. |
123182 |
|
Gültig ab |
01/2019 |
|
Name
|
Montageset FELISA /-S MZ
|
|
|
|
|
|
|
|
Pos. |
|
|
|
Art. Nr. |
125761 |
|
Gültig ab |
02/1999 |
|
Name
|
Montageset ARGON, ELIPSO, FELISA, MIRA, LAVA HA (ersetzt durch 123182)
|
|
|
|
|
|
|
|
Pos. |
|
|
|
Art. Nr. |
126945 |
|
Gültig ab |
02/1999 |
|
Name
|
Stabilisationsdreieck für Küchenarmaturen Kunststoff BLANCO
|
|
|
|
|
|
|
|
Pos. |
|
|
|
Art. Nr. |
126758 |
|
Gültig ab |
02/1999 |
|
Name
|
Dichtung Montageset ARGON, ELIPSO (ersetzt durch 125761 oder 128721) HA
|
|
|
|
|
|
|
|
Pos. |
|
|
|
Art. Nr. |
126760 |
|
Gültig ab |
02/1999 |
|
Name
|
Metallscheibe Montageset, (ersetzt durch 125761 oder 128721 oder 116455 oder 139544) HA
|
|
|
|
|
|
|
|
Pos. |
|
|
|
Art. Nr. |
126761 |
|
Gültig ab |
02/1999 |
|
Name
|
Mutter Montageset ARGON, ELIPSO (ersetzt durch 125761)
|
|
|
|
|
|
|
|
Pos. |
11 |
|
|
Art. Nr. |
127397 |
|
Gültig ab |
02/1999 |
|
Name
|
Strahlzerteiler ND AG M24x1 chrom BL (AM), Niederdruck
Ersatzteile
|
|
|
|
|
|
|
|
Pos. |
|
|
|
Art. Nr. |
125829 |
|
Gültig ab |
02/1999 |
|
Name
|
Strahlzerteiler ND AG M24x1 SW22 chrom (ersetzt durch 127397) HA, Niederdruck
Ersatzteile
|
|
|
|
|
|
|
|
Pos. |
|
|
|
Art. Nr. |
117501 |
|
Gültig ab |
02/1999 |
|
Name
|
Dichtung für Strahlregler 15,0 x 21,45 x 2,8mm BL (NE)
|
|
|
|
|
|
|
|
Pos. |
|
|
|
Art. Nr. |
511324 |
|
Gültig ab |
02/1999 |
|
Name
|
Schlüssel für Strahlregler/-zerteiler (1 Stück)
|
|
|
|
|
|
|
|
Pos. |
12 |
|
|
Art. Nr. |
121656 |
|
Gültig ab |
02/1999 |
|
Name
|
Flexschlauch neutral mit integrierter Dichtung ohne Aufkleber 55 cm Metall 3/8" x M10x1 (NF)
|
|
|
|
|
|
|
|
Pos. |
|
|
|
Art. Nr. |
119913 |
|
Gültig ab |
02/1999 |
|
Name
|
Flexschlauch C mit integrierter Dichtung 55 cm Metall M10x1 BL (NF) (ersetzt durch 121656)
|
|
|
|
|
|
|
|
Pos. |
|
|
|
Art. Nr. |
128923 |
|
Gültig ab |
02/1999 |
|
Name
|
Flexschlauch rot mit integrierter Dichtung 50 cm Metall M10x1 (ersetzt durch 119913) HA
|
|
|
|
|
|
|
|
Pos. |
|
|
|
Art. Nr. |
126492 |
|
Gültig ab |
02/1999 |
|
Name
|
Flexschlauch blau integrierter Dichtung 50 cm Metall M10x1 (ersetzt durch 119913) HA
|
|
|
|
|
|
|
|
Pos. |
|
|
|
Art. Nr. |
117464 |
|
Gültig ab |
02/1999 |
|
Name
|
Fiberdichtung HA
|
|
|
|
|
|
|
|
Pos. |
|
|
|
Art. Nr. |
126478 |
|
Gültig ab |
02/1999 |
|
Name
|
Dichtung 15 x 10 x 3 (ersetzt durch 117464) HA
|
|
|
|
|
|
|
|
Pos. |
13 |
|
|
Art. Nr. |
126493 |
|
Gültig ab |
02/1999 |
|
Name
|
Durchflussbegrenzer ND ARGON, ELIPSO, LAVA ohne Dichtung HA, gelb
|
|
|
|
|
|
|
|
Pos. |
14 |
|
|
Art. Nr. |
126498 |
|
Gültig ab |
02/1999 |
|
Name
|
Kartuschensitz ND ARGON, ELIPSO, LAVA HA
|
|
|
|
|
|
|
|
Pos. |
15 |
|
|
Art. Nr. |
126319 |
|
Gültig ab |
02/1999 |
|
Name
|
O-Ring ARGON,ELIPSO,LAVA,MIRA 2,62 x 29,83
|
|
|
|
|
|
|
|
Pos. |
16 |
|
|
Art. Nr. |
126812 |
|
Gültig ab |
02/1999 |
|
Name
|
O-Ring 3,53 x 42,86 (Ø~50 mm) HA
|
|
|
|
|
|
|
|
Pos. |
|
|
|
Art. Nr. |
117933 |
|
Gültig ab |
02/1999 |
|
Name
|
Armaturenfett 25 g Tube Berulub Sihaf 2
|
|
|
|
|
|
|
|
Pos. |
|
|
|
Art. Nr. |
117934 |
|
Gültig ab |
02/1999 |
|
Name
|
Armaturenfett 5 g Beutel Berulub Sihaf 2
|
|
|
|
|
|
|
|
Pos. |
|
|
|
Art. Nr. |
513383 |
|
Gültig ab |
09/2005 |
|
Name
|
Zusätzliche Armaturenstabilisierung 60 mm
|
|
|
|
|
|
|
|
Pos. |
|
|
|
Art. Nr. |
513384 |
|
Gültig ab |
02/1999 |
|
Name
|
Zusätzliche Armaturenstabilisierung 75 mm
|
|
|
|
|
|
|
|
Pos. |
|
|
|
Art. Nr. |
120055 |
|
Gültig ab |
02/1999 |
|
Name
|
Flexibles Dichtungsband (3 x 150 mm)
|
|
|
|
|