|
|
|
Pos. |
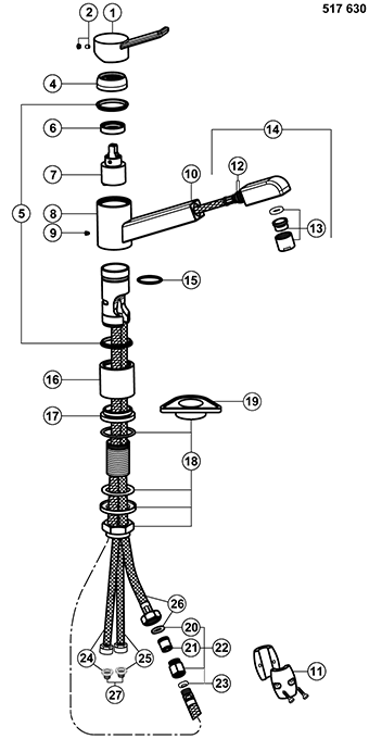
1 |
|
|
Art. Nr. |
139440 |
|
Gültig ab |
01/2005 |
|
Name
|
Hebel ZENOS chrom NF
|
|
|
|
|
|
|
|
Pos. |
2 |
|
|
Art. Nr. |
128685 |
|
Gültig ab |
01/2005 |
|
Name
|
Innensechskantschraube M5x4 SW 2,5 mm + Farbkappe chrom NF + SO
|
|
|
|
|
|
|
|
Pos. |
|
|
|
Art. Nr. |
139188 |
|
Gültig ab |
01/2005 |
|
Name
|
Innensechskantschlüssel SW 2,5 mm
|
|
|
|
|
|
|
|
Pos. |
4 |
|
|
Art. Nr. |
116661
(1 / B)
|
|
Gültig ab |
05/2006 |
|
Name
|
Kartuschensicherungsmutter ZENOS chrom ab 05/2006 NF
|
|
|
|
|
|
|
|
Pos. |
|
|
|
Art. Nr. |
128930
(0 / A)
|
|
Gültig ab |
01/2005 |
|
Name
|
Kartuschensicherungsmutter chrom NF
|
|
|
|
|
|
|
|
Pos. |
|
|
|
Art. Nr. |
139219 |
|
Gültig ab |
01/2005 |
|
Name
|
Universalschlüssel für Kartuschenabdeckring NF
|
|
|
|
|
|
|
|
Pos. |
5 |
|
|
Art. Nr. |
116660 |
|
Gültig ab |
05/2006 |
|
Name
|
Set Friktionsringe ZENOS NF
|
|
|
|
|
|
|
|
Pos. |
|
|
|
Art. Nr. |
139466 |
|
Gültig ab |
01/2005 |
|
Name
|
Friktionsring ZENOS (ersetzt durch 116660) NF
|
|
|
|
|
|
|
|
Pos. |
6 |
|
|
Art. Nr. |
128933 |
|
Gültig ab |
01/2005 |
|
Name
|
Spannring Kartusche ZENOS/-S,TALOS/-S NF
|
|
|
|
|
|
|
|
Pos. |
7 |
|
|
Art. Nr. |
121894 |
|
Gültig ab |
01/2005 |
|
Name
|
BLANCO Kartusche HD Ø= 35 mm HD KE, blau, Hochdruck
|
|
|
|
|
|
|
|
Pos. |
|
|
|
Art. Nr. |
121896 |
|
Gültig ab |
01/2005 |
|
Name
|
BLANCO Kartusche HD Ø= 35 mm HD CT (ersetzt durch 121894), blau, Hochdruck
|
|
|
|
|
|
|
|
Pos. |
|
|
|
Art. Nr. |
118787 |
|
Gültig ab |
01/2005 |
|
Name
|
Kartusche HD Ø= 35 mm (ersetzt durch 121894 oder 121896) KI, blau, Hochdruck
|
|
|
|
|
|
|
|
Pos. |
|
|
|
Art. Nr. |
128595 |
|
Gültig ab |
01/2005 |
|
Name
|
Kartusche HD Ø= 35 mm FONTAS-A (ersetzt durch 118787) NF, schwarz, Hochdruck
|
|
|
|
|
|
|
|
Pos. |
|
|
|
Art. Nr. |
116243 |
|
Gültig ab |
01/2005 |
|
Name
|
Kartusche HD Ø= 35 mm (ersetzt durch 128595), blau, Hochdruck
|
|
|
|
|
|
|
|
Pos. |
8 |
|
|
Art. Nr. |
139487 |
|
Gültig ab |
01/2005 |
|
Name
|
Außenkörper ZENOS-S alugrau NF
|
|
|
|
|
|
|
|
Pos. |
9 |
|
|
Art. Nr. |
128697 |
|
Gültig ab |
01/2005 |
|
Name
|
Innensechskantschraube Auslauf 2,5 mm zylindrisch M6x5,5 NF + SO
|
|
|
|
|
|
|
|
Pos. |
10 |
|
|
Art. Nr. |
119622 |
|
Gültig ab |
01/2005 |
|
Name
|
Passstück Brausekopf ZENOS-S HA
|
|
|
|
|
|
|
|
Pos. |
|
|
|
Art. Nr. |
116008 |
|
Gültig ab |
01/2005 |
|
Name
|
Passstück Brausekopf ZENOS-S (ersetzt durch 119622) NF
|
|
|
|
|
|
|
|
Pos. |
11 |
|
|
Art. Nr. |
123063 |
|
Gültig ab |
01/2005 |
|
Name
|
Gewicht für Brauseschlauch (200g) AV
|
|
|
|
|
|
|
|
Pos. |
|
|
|
Art. Nr. |
125764 |
|
Gültig ab |
01/2005 |
|
Name
|
Gewicht (260g) (ersetzt durch 128707 oder 123063) BL (HA)
|
|
|
|
|
|
|
|
Pos. |
|
|
|
Art. Nr. |
139083 |
|
Gültig ab |
01/2005 |
|
Name
|
Gewicht Ø 11 mm (240g) (ersetzt durch 125764 oder 128707 oder 116494) NF
|
|
|
|
|
|
|
|
Pos. |
12 |
|
|
Art. Nr. |
116158 |
|
Gültig ab |
01/2005 |
|
Name
|
O-Ring-Set Brause FILO-S / ZENOS-S NF
|
|
|
|
|
|
|
|
Pos. |
13 |
|
|
Art. Nr. |
116488 |
|
Gültig ab |
01/2005 |
|
Name
|
Strahlregler HD IG M22x1 chrom BL (NE), Hochdruck
Ersatzteile
|
|
|
|
|
|
|
|
Pos. |
|
|
|
Art. Nr. |
139084 |
|
Gültig ab |
01/2005 |
|
Name
|
Strahlregler HD IG M22x1 chrom (ersetzt durch 116488) NF, Hochdruck
Ersatzteile
|
|
|
|
|
|
|
|
Pos. |
|
|
|
Art. Nr. |
117502 |
|
Gültig ab |
01/2005 |
|
Name
|
Dichtung für Strahlregler 16,0 x 20,8 x 1,48 mm
|
|
|
|
|
|
|
|
Pos. |
|
|
|
Art. Nr. |
511324 |
|
Gültig ab |
01/2005 |
|
Name
|
Schlüssel für Strahlregler/-zerteiler (1 Stück)
|
|
|
|
|
|
|
|
Pos. |
14 |
|
|
Art. Nr. |
123127 |
|
Gültig ab |
01/2005 |
|
Name
|
Brausekopf ZENOS-S HD chrom+Schlauch VE galvanisch, chrom, Hochdruck
|
|
|
|
|
|
|
|
Pos. |
|
|
|
Art. Nr. |
139865 |
|
Gültig ab |
01/2005 |
|
Name
|
Brausekopf+Schlauch ZENOS-S HD chrom komplett NF (ersetzt durch 123127) galvanisch, chrom, Hochdruck
|
|
|
|
|
|
|
|
Pos. |
15 |
|
|
Art. Nr. |
139491 |
|
Gültig ab |
01/2005 |
|
Name
|
O-Ring Innenkörper ZENOS-S NF
|
|
|
|
|
|
|
|
Pos. |
|
|
|
Art. Nr. |
117933 |
|
Gültig ab |
01/2005 |
|
Name
|
Armaturenfett 25 g Tube Berulub Sihaf 2
|
|
|
|
|
|
|
|
Pos. |
|
|
|
Art. Nr. |
117934 |
|
Gültig ab |
01/2005 |
|
Name
|
Armaturenfett 5 g Beutel Berulub Sihaf 2
|
|
|
|
|
|
|
|
Pos. |
16 |
|
|
Art. Nr. |
139459 |
|
Gültig ab |
01/2005 |
|
Name
|
Abdeckzylinder ZENOS chrom NF
|
|
|
|
|
|
|
|
Pos. |
17 |
|
|
Art. Nr. |
139462 |
|
Gültig ab |
01/2005 |
|
Name
|
Sockel ZENOS chrom NF
|
|
|
|
|
|
|
|
Pos. |
18 |
|
|
Art. Nr. |
128950 |
|
Gültig ab |
01/2005 |
|
Name
|
Montageset NF
|
|
|
|
|
|
|
|
Pos. |
19 |
|
|
Art. Nr. |
126945 |
|
Gültig ab |
01/2005 |
|
Name
|
Stabilisationsdreieck für Küchenarmaturen Kunststoff BLANCO
|
|
|
|
|
|
|
|
Pos. |
|
|
|
Art. Nr. |
117184 |
|
Gültig ab |
01/2005 |
|
Name
|
Stabilisationsplatte (ersetzt durch 126945) NF
|
|
|
|
|
|
|
|
Pos. |
20 |
|
|
Art. Nr. |
139496 |
|
Gültig ab |
01/2005 |
|
Name
|
Dichtung Schlauch oben/Rückflverhinderer ZENOS-S NF
|
|
|
|
|
|
|
|
Pos. |
21 |
|
|
Art. Nr. |
116576 |
|
Gültig ab |
01/2005 |
|
Name
|
Rückflussverhinderer Ø= 15 mm NE, beige
|
|
|
|
|
|
|
|
Pos. |
|
|
|
Art. Nr. |
139082 |
|
Gültig ab |
01/2005 |
|
Name
|
Rückflussverhinderer und 3 Dichtungen (ersetzt durch 116576) NF, weiß
|
|
|
|
|
|
|
|
Pos. |
22 |
|
|
Art. Nr. |
119943 |
|
Gültig ab |
01/2005 |
|
Name
|
Rückflussverhinderer inklusive Gehäuse AG 1/2" und IG M15x1 NF, weiß
|
|
|
|
|
|
|
|
Pos. |
|
|
|
Art. Nr. |
139087 |
|
Gültig ab |
01/2005 |
|
Name
|
Rückflussverhinderer + Gehäuse AG 1/2" und IG M15x1+ Dichtungen (ersetzt durch 119943) NF, weiß
|
|
|
|
|
|
|
|
Pos. |
23 |
|
|
Art. Nr. |
139346 |
|
Gültig ab |
01/2005 |
|
Name
|
Dichtung Brauseschlauch unten NF + SO
|
|
|
|
|
|
|
|
Pos. |
|
|
|
Art. Nr. |
116598 |
|
Gültig ab |
01/2005 |
|
Name
|
Dichtung Brauseschlauch unten (ersetzt durch 139346) NF
|
|
|
|
|
|
|
|
Pos. |
24 |
|
|
Art. Nr. |
123937 |
|
Gültig ab |
01/2005 |
|
Name
|
Flexschlauch 70 cm blau ST B FI EU 3/8" - M8x1 NE
|
|
|
|
|
|
|
|
Pos. |
|
|
|
Art. Nr. |
119374 |
|
Gültig ab |
01/2005 |
|
Name
|
Flexschlauch blau mit Siebdichtung 65 cm Metall M8x1 BL (NF+SO) (ersetzt durch 123937)
|
|
|
|
|
|
|
|
Pos. |
25 |
|
|
Art. Nr. |
123936 |
|
Gültig ab |
01/2005 |
|
Name
|
Flexschlauch 70 cm rot ST R FI EU 3/8" - M8x1 NE
|
|
|
|
|
|
|
|
Pos. |
|
|
|
Art. Nr. |
119375 |
|
Gültig ab |
01/2005 |
|
Name
|
Flexschlauch rot mit Siebdichtung 65 cm Metall M8x1 BL (NF+SO) (ersetzt durch 123936)
|
|
|
|
|
|
|
|
Pos. |
|
|
|
Art. Nr. |
139490 |
|
Gültig ab |
01/2005 |
|
Name
|
Flexschläuche (3 Stück) 65 cm Metall (ersetzt durch 119374, 119375 und 117015)
|
|
|
|
|
|
|
|
Pos. |
26 |
|
|
Art. Nr. |
117015 |
|
Gültig ab |
01/2005 |
|
Name
|
Anschlußschlauch mit Dichtung 36 cm Metall Schlüsselweite: 24 mm 1/2" x M8x1 NF
|
|
|
|
|
|
|
|
Pos. |
27 |
|
|
Art. Nr. |
118840 |
|
Gültig ab |
01/2011 |
|
Name
|
Hutfilterdichtung für 3/8" Eckventil
|
|
|
|
|
|
|
|
Pos. |
|
|
|
Art. Nr. |
127401 |
|
Gültig ab |
01/2005 |
|
Name
|
Fiberdichtung Flexschlauch 3/8“(1 Stück)
|
|
|
|
|
|
|
|
Pos. |
|
|
|
Art. Nr. |
139338 |
|
Gültig ab |
01/2005 |
|
Name
|
Fiberdichtungen Flexschlauch (2 Stück) (ersetzt durch 127401)
|
|
|
|
|
|
|
|
Pos. |
|
|
|
Art. Nr. |
513383 |
|
Gültig ab |
01/2005 |
|
Name
|
Zusätzliche Armaturenstabilisierung 60 mm
|
|
|
|
|
|
|
|
Pos. |
|
|
|
Art. Nr. |
513384 |
|
Gültig ab |
01/2005 |
|
Name
|
Zusätzliche Armaturenstabilisierung 75 mm
|
|
|
|
|
|
|
|
Pos. |
|
|
|
Art. Nr. |
511920 |
|
Gültig ab |
01/2005 |
|
Name
|
Schlauchführung für Küchenarmaturen
|
|
|
|
|
|
|
|
Pos. |
|
|
|
Art. Nr. |
120055 |
|
Gültig ab |
01/2005 |
|
Name
|
Flexibles Dichtungsband (3 x 150 mm)
|
|
|
|
|