|
|
|
Pos. |
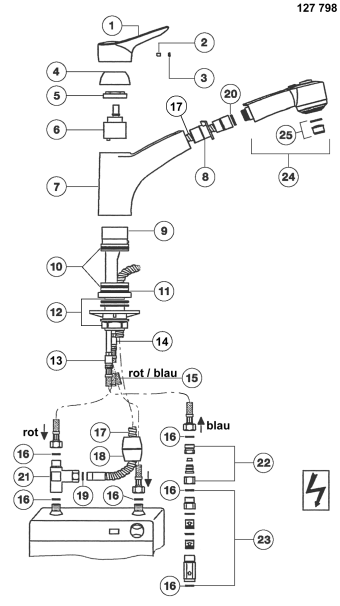
1 |
|
|
Art. Nr. |
139125 |
|
Gültig ab |
01/2002 |
|
Name
|
Hebel MERKUR-S Edelstahl finish HA
|
|
|
|
|
|
|
|
Pos. |
2 |
|
|
Art. Nr. |
119362 |
|
Gültig ab |
01/2002 |
|
Name
|
Schraube am Hebel Innensechskant 2,5 mm NF+DV
|
|
|
|
|
|
|
|
Pos. |
|
|
|
Art. Nr. |
123285 |
|
Gültig ab |
01/2002 |
|
Name
|
Schraube am Hebel Innensechskant 2,5mm VE (ersetzt durch 119362)
|
|
|
|
|
|
|
|
Pos. |
|
|
|
Art. Nr. |
125742 |
|
Gültig ab |
01/2002 |
|
Name
|
Schraube am Hebel M5x6 Innensechskant 2,5 mm HA (ersetzt durch 123285)
|
|
|
|
|
|
|
|
Pos. |
|
|
|
Art. Nr. |
139188 |
|
Gültig ab |
01/2002 |
|
Name
|
Innensechskantschlüssel SW 2,5 mm
|
|
|
|
|
|
|
|
Pos. |
3 |
|
|
Art. Nr. |
125743 |
|
Gültig ab |
01/2002 |
|
Name
|
Farbkappe am Hebel blau/rot HA
|
|
|
|
|
|
|
|
Pos. |
4 |
|
|
Art. Nr. |
139136 |
|
Gültig ab |
01/2002 |
|
Name
|
Abdeckring ELIPSO Edelstahl finish HA
|
|
|
|
|
|
|
|
Pos. |
5 |
|
|
Art. Nr. |
125745 |
|
Gültig ab |
01/2002 |
|
Name
|
Kartuschensicherungsmutter ELIPSO, MERKUR HA
|
|
|
|
|
|
|
|
Pos. |
|
|
|
Art. Nr. |
127433 |
|
Gültig ab |
01/2002 |
|
Name
|
Kartuschenschlüssel Sechskant Schlüsselweite = 30 mm und 36 mm
|
|
|
|
|
|
|
|
Pos. |
6 |
|
|
Art. Nr. |
121492 |
|
Gültig ab |
01/2002 |
|
Name
|
Kartusche ND Ø= 40 mm KE, blau, Niederdruck
|
|
|
|
|
|
|
|
Pos. |
|
|
|
Art. Nr. |
120089 |
|
Gültig ab |
01/2002 |
|
Name
|
Kartusche ND Ø= 40 mm (ersetzt durch 121492) KI, blau, Niederdruck
|
|
|
|
|
|
|
|
Pos. |
|
|
|
Art. Nr. |
116646 |
|
Gültig ab |
01/2002 |
|
Name
|
Kartusche ND Ø= 40 mm (ersetzt durch 120089) MZ, grau, Niederdruck
|
|
|
|
|
|
|
|
Pos. |
|
|
|
Art. Nr. |
116611 |
|
Gültig ab |
01/2002 |
|
Name
|
Kartusche ND Ø= 40 mm ab 05/2007 (ersetzt durch 116646) HA, grau, Niederdruck
|
|
|
|
|
|
|
|
Pos. |
|
|
|
Art. Nr. |
125818 |
|
Gültig ab |
01/2002 |
|
Name
|
Kartusche ND Ø= 40 mm (ersetzt durch 116611), blau, Niederdruck
|
|
|
|
|
|
|
|
Pos. |
7 |
|
|
Art. Nr. |
139129 |
|
Gültig ab |
01/2002 |
|
Name
|
Außenkörper MERKUR-S mit Passstück Edelstahl finish HA
|
|
|
|
|
|
|
|
Pos. |
8 |
|
|
Art. Nr. |
127908 |
|
Gültig ab |
01/2002 |
|
Name
|
Passstück Brausekopf MERKUR-S HA
|
|
|
|
|
|
|
|
Pos. |
9 |
|
|
Art. Nr. |
139131 |
|
Gültig ab |
01/2002 |
|
Name
|
Innenkörper MERKUR-S Edelstahl finish HA
|
|
|
|
|
|
|
|
Pos. |
10 |
|
|
Art. Nr. |
126812 |
|
Gültig ab |
01/2002 |
|
Name
|
O-Ring 3,53 x 42,86 (Ø~50 mm) HA
|
|
|
|
|
|
|
|
Pos. |
|
|
|
Art. Nr. |
117933 |
|
Gültig ab |
01/2002 |
|
Name
|
Armaturenfett 25 g Tube Berulub Sihaf 2
|
|
|
|
|
|
|
|
Pos. |
|
|
|
Art. Nr. |
117934 |
|
Gültig ab |
01/2002 |
|
Name
|
Armaturenfett 5 g Beutel Berulub Sihaf 2
|
|
|
|
|
|
|
|
Pos. |
11 |
|
|
Art. Nr. |
127911 |
|
Gültig ab |
01/2002 |
|
Name
|
Teflonring Innenkörper MERKUR-S HA
|
|
|
|
|
|
|
|
Pos. |
12 |
|
|
Art. Nr. |
127841 |
|
Gültig ab |
01/2002 |
|
Name
|
Montageset MERKUR, RADOS HA
|
|
|
|
|
|
|
|
Pos. |
13 |
|
|
Art. Nr. |
127842 |
|
Gültig ab |
01/2002 |
|
Name
|
Anschlussstück Brauseschlauch MERKUR, RADOS
|
|
|
|
|
|
|
|
Pos. |
14 |
|
|
Art. Nr. |
127912 |
|
Gültig ab |
01/2002 |
|
Name
|
Anschlussstück Netzanschluss MERKUR HA
|
|
|
|
|
|
|
|
Pos. |
15 |
|
|
Art. Nr. |
121656 |
|
Gültig ab |
01/2002 |
|
Name
|
Flexschlauch neutral mit integrierter Dichtung ohne Aufkleber 55 cm Metall 3/8" x M10x1 (NF)
|
|
|
|
|
|
|
|
Pos. |
|
|
|
Art. Nr. |
119913 |
|
Gültig ab |
01/2002 |
|
Name
|
Flexschlauch C mit integrierter Dichtung 55 cm Metall M10x1 BL (NF) (ersetzt durch 121656)
|
|
|
|
|
|
|
|
Pos. |
|
|
|
Art. Nr. |
128923 |
|
Gültig ab |
01/2002 |
|
Name
|
Flexschlauch rot mit integrierter Dichtung 50 cm Metall M10x1 (ersetzt durch 119913) HA
|
|
|
|
|
|
|
|
Pos. |
|
|
|
Art. Nr. |
126492 |
|
Gültig ab |
01/2002 |
|
Name
|
Flexschlauch blau integrierter Dichtung 50 cm Metall M10x1 (ersetzt durch 119913) HA
|
|
|
|
|
|
|
|
Pos. |
|
|
|
Art. Nr. |
126778 |
|
Gültig ab |
01/2002 |
|
Name
|
Flexschlauch Netzanschluss mit integrierter Dichtung 50 cm Metall (ersetzt durch 126492) HA
|
|
|
|
|
|
|
|
Pos. |
|
|
|
Art. Nr. |
127844 |
|
Gültig ab |
01/2002 |
|
Name
|
O-Ring Flexschlauch RADOS-S, MERKUR-S HA
|
|
|
|
|
|
|
|
Pos. |
16 |
|
|
Art. Nr. |
127843 |
|
Gültig ab |
01/2002 |
|
Name
|
Dichtung Netzanschluss MERKUR, RADOS flach
|
|
|
|
|
|
|
|
Pos. |
17 |
|
|
Art. Nr. |
125763 |
|
Gültig ab |
01/2002 |
|
Name
|
Brauseschlauch komplett mit Dichtungen und O-Ring 150 cm Metall
|
|
|
|
|
|
|
|
Pos. |
18 |
|
|
Art. Nr. |
124881 |
|
Gültig ab |
01/2002 |
|
Name
|
Gewicht für Brauseschlauch (445g) PN
|
|
|
|
|
|
|
|
Pos. |
|
|
|
Art. Nr. |
123888 |
|
Gültig ab |
01/2002 |
|
Name
|
Gewicht für Brauseschlauch (420g) AV (ersetzt durch 124881)
|
|
|
|
|
|
|
|
Pos. |
|
|
|
Art. Nr. |
128707 |
|
Gültig ab |
01/2002 |
|
Name
|
Gewicht Ø 14 mm (221g) BL (NF) (ersetzt durch 123888)
|
|
|
|
|
|
|
|
Pos. |
|
|
|
Art. Nr. |
125764 |
|
Gültig ab |
01/2002 |
|
Name
|
Gewicht (260g) (ersetzt durch 128707 oder 123063) BL (HA)
|
|
|
|
|
|
|
|
Pos. |
19 |
|
|
Art. Nr. |
126762 |
|
Gültig ab |
01/2002 |
|
Name
|
Dichtung Brauseschlauch unten 13,7 x 10 x 1,5 HA
|
|
|
|
|
|
|
|
Pos. |
20 |
|
|
Art. Nr. |
126764 |
|
Gültig ab |
01/2002 |
|
Name
|
Dichtung Brauseschlauch oben 20x12x2,5 HA
|
|
|
|
|
|
|
|
Pos. |
21 |
|
|
Art. Nr. |
127281 |
|
Gültig ab |
01/2002 |
|
Name
|
T-Stück mit Dichtungen IG 3/8", IG M15x1 und AG 3/8" BL
|
|
|
|
|
|
|
|
Pos. |
|
|
|
Art. Nr. |
125827 |
|
Gültig ab |
01/2002 |
|
Name
|
T-Stück ND ARGON, ELIPSO, MERKUR (ersetzt durch 127281) HA
|
|
|
|
|
|
|
|
Pos. |
22 |
|
|
Art. Nr. |
126493 |
|
Gültig ab |
01/2002 |
|
Name
|
Durchflussbegrenzer ND ARGON, ELIPSO, LAVA ohne Dichtung HA, gelb
|
|
|
|
|
|
|
|
Pos. |
23 |
|
|
Art. Nr. |
125822 |
|
Gültig ab |
01/2002 |
|
Name
|
Rückflussverhinderer ND ARGON, ELIPSO, MERKUR
|
|
|
|
|
|
|
|
Pos. |
24 |
|
|
Art. Nr. |
139134 |
|
Gültig ab |
01/2002 |
|
Name
|
Brausekopf MERKUR-S ND Edelstahl finish komplett galvanisch, Edelstahl finish, Niederdruck
|
|
|
|
|
|
|
|
Pos. |
25 |
|
|
Art. Nr. |
123440 |
|
Gültig ab |
07/2018 |
|
Name
|
Einsatz Strahlzerteiler ND mit Dichtung NE, Niederdruck
|
|
|
|
|
|
|
|
Pos. |
|
|
|
Art. Nr. |
117501 |
|
Gültig ab |
01/2002 |
|
Name
|
Dichtung für Strahlregler 15,0 x 21,45 x 2,8mm BL (NE)
|
|
|
|
|
|
|
|
Pos. |
|
|
|
Art. Nr. |
117463 |
|
Gültig ab |
01/2002 |
|
Name
|
Einsatz Strahlzerteiler ND Kunststoff mit Dichtung HA (ersetzt durch 123440), Niederdruck
|
|
|
|
|
|
|
|
Pos. |
|
|
|
Art. Nr. |
128446 |
|
Gültig ab |
01/2002 |
|
Name
|
Schlüssel Strahlscheibe ELIPSO-/MERKUR-S AG
|
|
|
|
|
|
|
|
Pos. |
|
|
|
Art. Nr. |
513383 |
|
Gültig ab |
01/2002 |
|
Name
|
Zusätzliche Armaturenstabilisierung 60 mm
|
|
|
|
|
|
|
|
Pos. |
|
|
|
Art. Nr. |
513384 |
|
Gültig ab |
01/2002 |
|
Name
|
Zusätzliche Armaturenstabilisierung 75 mm
|
|
|
|
|
|
|
|
Pos. |
|
|
|
Art. Nr. |
511920 |
|
Gültig ab |
01/2002 |
|
Name
|
Schlauchführung für Küchenarmaturen
|
|
|
|
|
|
|
|
Pos. |
|
|
|
Art. Nr. |
120055 |
|
Gültig ab |
01/2002 |
|
Name
|
Flexibles Dichtungsband (3 x 150 mm)
|
|
|
|
|