Zum Inhalt springen Zum Navigationsmenü springen


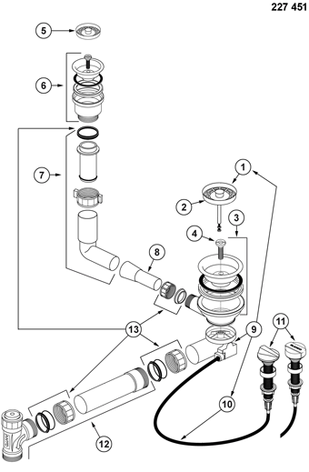
Ablaufgarnitur 1 x 3,5'' Sieb mit Ablauffernbedienung - 1 x 1,5'' Sieb ohne Überlauf
Artikelnummer 227451
Wird seit 23.05.2012 mit neuer Drehbetätigung (119293) ausgeliefert!

1 119145 04/2011 Exzenter Siebkörbchen 3,5" RADIAL universal (20 Schlitze) AL

Ersatzteile
2 116116 04/2011 Dichtung Siebkörbchen 3,5" Ø=51 mm ab 10/2006 AL
3 120666 04/2011 Ventil 3,5" steckbar AL, weiß
4 119741 04/2011 Hohlschraube G1/4" Länge = 35 mm AL
125718 04/2011 Hohlschraubenschlüssel Ventilkelch Edelstahl
5 225214 04/2011 Siebkörbchen RADIAL 1,5" ohne Dichtung (18 Schlitze) AL
6 118204 04/2011 Ventil 1,5" komplett mit Hohlschraube AL, weiß
7 118547 04/2011 Verrohrungsset Überlauf 1,5" mit Flansch Ø 30mm, Länge: 70 x 115-150 mm AL
8 125614 04/2011 Verlängerungsrohr Überlauf Ø 30 mm, Länge: 130 mm AL
9 118981 04/2011 Nachrüstset steckbar mit Bowdenzug Standard Sieb (ohne Zugknopf) AL

Ersatzteile
118982 04/2011 Nachrüstset steckbar mit Bowdenzug modernes Sieb (ohne Zugknopf) AL (ersetzt durch 118981 und 119145)

Ersatzteile
10 139373 04/2011 Bowdenzug 700 mm lang AL
11 119293 04/2011 Drehbetätigung Edelstahl rund BL (EB)
12 225616 04/2011 Belüftungsventil Ø 40 mm, Länge: 107 x 261-275 mm
13 120676 04/2011 Dichtungsset Ø= 30/40 AL
100 515399 04/2011 BLANCO SensorControl-BSC Sensorgesteuerte Ablauffernbedienung

Ersatzteile

Herstellerinformationen nach der Produktsicherheitsverordnung (GPSR)

BLANCO GmbH + Co KG
Flehinger Straße 59
75038 Oberderdingen
Deutschland
E-Mail: info@blanco.de